Embase pour jet Inox Rince Bidon AGZ000156739
Réf. AGZ000156739
Accessoires pulvé : Découvrez Embase pour jet Inox Rince Bidon disponible à l'achat
Description
Informations techniques:
- Ouverture du clapet en appuyant sur le bidon
- Matériau: Inox
- Peut-être couplé au jet rotatif AGZ000156733
- Pression mini: 2 Bars
- Pression optimale: 5 Bars
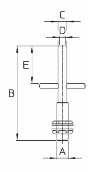
Dimensions:
- Filetage mâle A: 1/2'' BSP
- B: 166 mm
- C: 15 mm
- Filetage femelle D: 1/4'' BSP
- E: 66 mm
-1%
61,95€ HT
74,34€ TTC
61,33€
Soit 73,60€ TTC
Expédition sous 7 jours
Expédié par Agrizone
Expédition depuis nos entrepôts basés en France
Chargement...
Chargement...
Chargement...
Chargement...
Chargement...
Chargement...
