Chargeur frontal Sonarol LCSNR20 de 35 à 50 cv AGZ000535948
Réf. AGZ000535948
Chargeur complet : Découvrez Chargeur frontal Sonarol LCSNR20 de 35 à 50 cv disponible à l'achat
- Hauteur de levage : 2.8 m
- Poids : 270 kg
- Hauteur de levage : 2.8 m
- Poids : 270 kg
- Capacité de levage : 650 kg
- Angle de bennage : 61 °
- Hauteur sous bati plat : 2.5 m
- Profondeur de terrage : 100-150 mm
- Angle de fermeture position haute : 58 °
- Angle de fermeture position basse : 46 °
- Dimensions de vérin de levage : 50x32 mm
- Dimensions de vérin de bennage : 50x32 mm
« Attention, la marchandise que vous commandez est volumineuse et/ou lourde. Il vous est nécessaire de prévoir le matériel pour le déchargement du camion. Ni le chauffeur, ni Agrizone ne sont responsable du déchargement. En cas dimpossibilité de livraison, les frais de transport et de retour de la marchandise seront déduits de votre remboursement »
Le chargeur frontal est conçu pour la manutention des récoltes, du fumier, de l'ensilage, des matériaux en vrac, des palettes et d'autres travaux de transport à la ferme.
Les bras en forme de double C avec une traverse épaisse et un contreventement supplémentaire bénéficient d'une rigidité améliorée.
La conception soignée du support assure un emplacement optimal du COG sur le chargeur frontal pour un meilleur confort d'utilisation avec une charge réduite sur l'essieu avant du tracteur.
Les angles de ramassage et de déversement optimisés avec un nivellement de précision, un couplage et un découplage faciles des conduites hydrauliques et le châssis de montage d'outil autobloquant augmentent encore la vitesse et la productivité du travail.
Le système d'amortisseur à commande électrique (actionné avec une gâchette par joystick) supprime les chocs et les vibrations pendant le mouvement pour améliorer le confort de travail et prolonger la durée de vie du chargeur frontal.
Le chargeur frontal est commandé par une unité de commande électrohydraulique (qui est une vanne de commande de section hydraulique couplée à un joystick) couplée à des câbles Bowden, qui augmentent le confort de travail de l'opérateur et permettent le fonctionnement de trois sections de commande hydrauliques (avec une version optionnelle pour quatre sections de commande hydraulique).
Caractéristiques techniques:
- Charge maxi: 650 Kg
- Poids à vide: 270 Kg
- Commande par Joystick
- Amortisseur de choc via boule d'azote
- Vérin hydraulique de levage:
- Ø piston: 50 mm
- Ø tige: 32 mm
- Vérin hydraulique de bennage:
- Ø piston: 50 mm
- Ø tige: 32 mm
- Verrouillage du chargeur: Axe
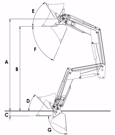
Dimensions:
- Hauteur de levage à l'axe de rotation A: 2.8 m
- Hauteur sous outil plat B: 2.5 m
- Profondeur de terrage C: 100 - 150 mm
- Angle de fermeture position basse D: 46°
- Angle de fermeture position haute E: 58°
- Angle de bennage en position haute F: 61°
- Angle de bennage en position basse G: 60°
*Porte outil Euro monté de série (autre montage sur demande)
*Adaptation tracteur comprise dans le prix, nous contacter pour le modèle
« Attention, la marchandise que vous commandez est volumineuse et/ou lourde. Il vous est nécessaire de prévoir le matériel pour le déchargement du camion. Ni le chauffeur, ni Agrizone ne sont responsable du déchargement. En cas dimpossibilité de livraison, les frais de transport et de retour de la marchandise seront déduits de votre remboursement »
- Hauteur de levage : 2.8 m
- Poids : 270 kg
- Capacité de levage : 650 kg
- Angle de bennage : 61 °
- Hauteur sous bati plat : 2.5 m
- Profondeur de terrage : 100-150 mm
- Angle de fermeture position haute : 58 °
- Angle de fermeture position basse : 46 °
- Dimensions de vérin de levage : 50x32 mm
- Dimensions de vérin de bennage : 50x32 mm
-1%
4 932,33€ HT
5 918,80€ TTC
4 883,01€
Soit 5 859,61€ TTC
Expédition sous 50 jours
Expédié par Agrizone
Expédition depuis nos entrepôts basés en France
